센싱 플랫폼 통합 기술
- 기술요약
- <경계 보안을 위한 Sensor Application>
1. 면 감지 기술 : Line Detection , Cable 3 Axis Sensing
2. 공간 감지 기술 : RADAR, CAMERA
3. 지하 감지 기술 : Geophone Application
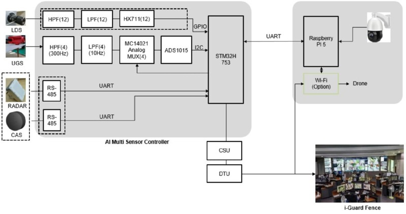
- <멀티 다중 센서 통합 제어>
1. Line Detection, RADAR, UGS(Under Ground Sensor) Integration
2. Machine Learning Processing
1. i-Guard pro Integrated Monitoring System
- 적용모델
- I-Guard Pro, MVI-0001 (개발 예정)
상세기술소개
1. Line Detection 기술
자사는 외곽 경계 감지를 위한 고유 센싱 기술로 Strain Gauge 특성을 이용한 장력 감지에 대한 기술적 Know-How를 가지고 있다
1)감지센서 (모델명 : SSU-0200)
▶LDS (감지선과 감지기를 1:1로 구성)
- 감지기 사양
⑴ 외관 사양
① 형태 및 구조 : POST Mounted
② 외형 사이즈 : Φ26 x 90mm(길이)
③ 재질 : Anodizing Aluminum
④ 중량 : 150 g
⑵ 전원사양
①입력전압 : DC 3.3V
② 소비전류 : 15mA 이하 (DC 3.3V 인가시)
③ 소비전력 : 0.0165W
▶중앙식 (여러 감지선과 감지기를 다:1로 구성)

2) 장비 구성 비교
▶LDS Spec
- SIU(경보분석장치) 연결 감지기 : 10개
- CSU(경보중계장치)
- DTU(경보수집장치)

▶중앙식 Spec
- SIU (최대 감지기 2대 수용)
- 경보분석장치(SIU) 신호를 경보수집장치(DTU)에 전달

2. 주요 구성품
▶SIU (경보분석장치)
⑴외관 사양
①형태 및 구조: POST Mounted
②외형 사이즈: 68mm(가로) x 342mm(세로) x 52mm(높이)
③재질: AL / STS304
④중량: 1.7㎏
⑵전원사양
①입력전압: DC 12 ~ 24V
②소비전류: 65mA 이하 (DC 24V 인가시)
③소비전력: 1.56W
⑶기타: 감지기 10개 접속 가능

▶CSU(경보중계장치)
⑴ 외관 사양
① 형태 및 구조 : WALL Mounted
② 외형 사이즈 : 200mm(가로) x 230mm(세로) x 110mm(높이)
③ 재질 : AL / STS304
④ 중량 : 3.5 ㎏
⑵전원사양
①입력전압: DC 12 ~ 24V
②소비전류: 80mA 이하 (DC 24V 인가시)
③소비전력: 1.92W
⑶기타: 경보분석장치 8 대 접속 가능

▶DTU(경보수집장치)
⑴외관 사양
①형태 및 구조: DESK TOP, Rack Mounted
②외형 사이즈: 250mm(가로) x 210mm(세로) x 44mm(높이)
③재질: 스틸 분체도장
④중량: 1.5㎏
⑵전원사양
①입력전압: AC 220V
②소비전류: 60mA이하 (AC 220V 인가시)
③소비전력: 10W
⑶기타: 경보중계장치 8 대 접속 가능

3. 멀티다중 센서 기술
